Запасные части ЧТЗ Запасные части ЧТЗ
Алчевск
Например:
Актобе
Алдан
или
Выбрать автоматически
Актобе
Алдан
Алматы
Алчевск
Архангельск
Астана
Астрахань
Атырау
Баку
Балашиха
Барнаул
Белгород
Бердянск
Бишкек
Владивосток
Владикавказ
Воркута
Воронеж
Горловка
Грозный
Донецк
Екатеринбург
Иваново
Ижевск
Иркутск
Казань
Калининград
Каменск-Уральский
Караганда
Каховка
Кемерово
Киров
Комсомольск-на-Амуре
Костанай
Краснодар
Красноярск
Красный луч
Ленск
Луганск
Магадан
Магнитогорск
Макеевка
Махачкала
Мелитополь
Минск
Мирный (Якутия)
Москва
Мурманск
Нерюнгри
Нижневартовск
Нижний Новгород
Нижний Тагил
Новая каховка
Новокузнецк
Новосибирск
Новый Уренгой
Норильск
Ноябрьск
Нур-Султан
Омск
Оренбург
Ош
Павлодар
Пермь
Петрозаводск
Петропавловск
Петропавловск-Камчатский
Псков
Ростов-на-Дону
Салехард
Самара
Санкт-Петербург
Саратов
Севастополь
Семей
Симферополь
Сочи
Ставрополь
Сургут
Сыктывкар
Тараз
Ташкент
Токмак
Томск
Тында
Тюмень
Ульяновск
Усинск
Усть-Каменогорск
Уфа
Хабаровск
Ханты-Мансийск
Херсон
Челябинск
Чита
Шымкент
Экибастуз
Энергодар
Южно-Сахалинск
Якутск
Ваш город
Алчевск
Войти
Запасные части к тракторам на одном сайте
Отправить заявку


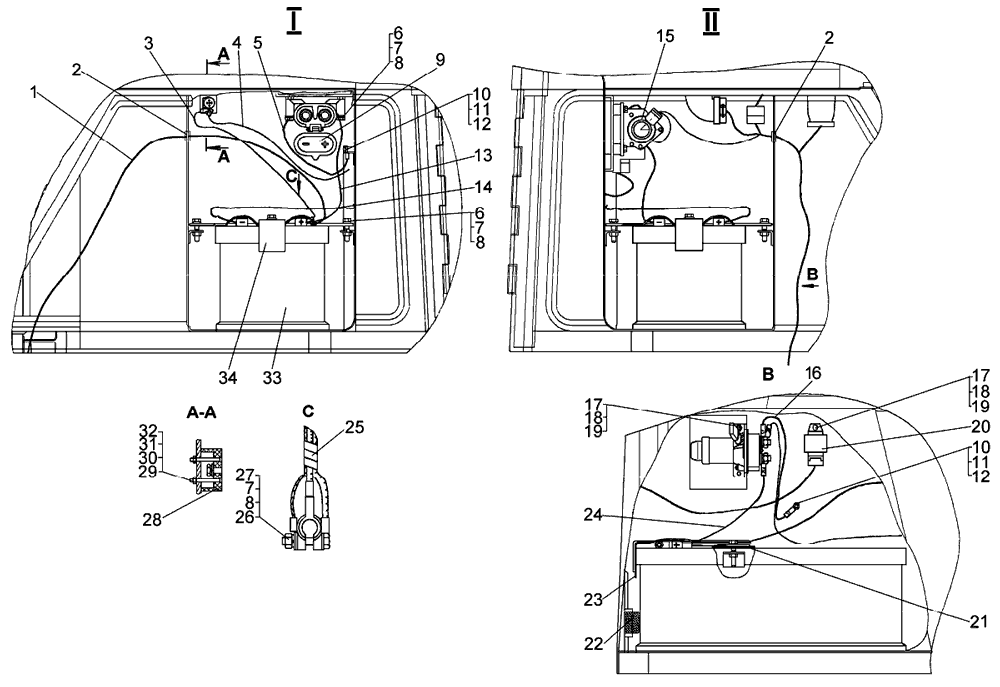
Установка аккумуляторных батарей трактора с гидромеханической трансмиссией с электростартерной системой пуска на Т10М / Б10М


/
с НДС 20%
Описание
Установка аккумуляторных батарей для трактора Т10М с гидромеханической трансмиссией с электростартерной системой пуска
#Номер запчастиНаименование деталиКол-во в сборке
-64-10-491СПУстановка аккумуляторных батарей
(для трактора с гидромеханической трансмиссией и пусковым двигателем)
1
164-10-184СППровод 221
2700-40-7419Втулка резиновая2
350-10-421СППровод 771
464-10-152-01СППровод 78А1
564-10-403СППровод 92Б1
6-Болт
M8-6g×50.58.019
M8-6g×70.58.019 3
M8-6g×35.88.35.019 2

6 1, 2 3
4
4
7-Шайба 8Т 65Г 0910
831386Шайба10
9-Розетка
ПС 315-100
ПС 315-100-Т 3
1
10-Болт М10-6g×18.58.0192
11-Шайба 10 ОТ 65Г 092
1231308-1Шайба2
1364-10-402СППровод 92А1
1464-10-278СППровод 191
15-Выключатель 1402.3737.01
1650-10-280СППровод 511
17-Болт М6-6g×16.88.35.0193
18-Шайба 6Т 65Г 093
1931358-1Шайба3
20-Реле прерывистой сигнализации РПС 24.21
2164-10-194Прокладка2
22700-40-3727Амортизатор4
2364-10-195Прокладка2 1, 2
2464-10-186СППровод 1531
25-Лента ПВХ 20x0,300,02 кг
262848Болт4
27-Гайка М8-7Н.6.0194
28-Розетка штепсельная
47К
47К-Э 4
47К-Т 3
1
29-Винт В.2МЗ-6g×25.58.0192
30-Гайка МЗ-6Н.6.0162
31-Шайба 3Т 65Г 062
3231311-1Шайба2
33-Батарея
6СТ-190А «Амур» 1
6СТ-190А Востоксибаккумулятор 2
6СТ-132ЭМ 3
2
3464-10-486СППрижим2
I - Левый отсек.
II - Правый отсек.
1 При установке батареи 6СТ-190А «Амур» применяется болт M8-6g×50.58.019, 4 шт.
2 При установке батареи 6CT-190A «Востоксибаккумулятор» применяется Болт M8-6g×35.88.35.019, 4 шт.
3 Для тропиков при установке батареи 6СТ-132ЭМ применяется Болт М8-6g×70.58.019, 4 шт.
4 Для экспорта.
Установка аккумуляторных батарей трактора с гидромеханической трансмиссией с электростартерной системой пуска