Запасные части ЧТЗ Запасные части ЧТЗ
Алчевск
Например:
Актобе
Алдан
или
Выбрать автоматически
Актобе
Алдан
Алматы
Алчевск
Архангельск
Астана
Астрахань
Атырау
Баку
Балашиха
Барнаул
Белгород
Бердянск
Бишкек
Владивосток
Владикавказ
Воркута
Воронеж
Горловка
Грозный
Донецк
Екатеринбург
Иваново
Ижевск
Иркутск
Казань
Калининград
Каменск-Уральский
Караганда
Каховка
Кемерово
Киров
Комсомольск-на-Амуре
Костанай
Краснодар
Красноярск
Красный луч
Ленск
Луганск
Магадан
Магнитогорск
Макеевка
Махачкала
Мелитополь
Минск
Мирный (Якутия)
Москва
Мурманск
Нерюнгри
Нижневартовск
Нижний Новгород
Нижний Тагил
Новая каховка
Новокузнецк
Новосибирск
Новый Уренгой
Норильск
Ноябрьск
Нур-Султан
Омск
Оренбург
Ош
Павлодар
Пермь
Петрозаводск
Петропавловск
Петропавловск-Камчатский
Псков
Ростов-на-Дону
Салехард
Самара
Санкт-Петербург
Саратов
Севастополь
Семей
Симферополь
Сочи
Ставрополь
Сургут
Сыктывкар
Тараз
Ташкент
Токмак
Томск
Тында
Тюмень
Ульяновск
Усинск
Усть-Каменогорск
Уфа
Хабаровск
Ханты-Мансийск
Херсон
Челябинск
Чита
Шымкент
Экибастуз
Энергодар
Южно-Сахалинск
Якутск
Ваш город
Алчевск
Войти
Запасные части к тракторам на одном сайте
Отправить заявку


Валики привода масляного насоса на Т-170


/
с НДС 20%
Описание
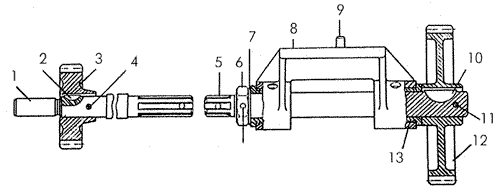
Валики привода масляного насоса Т-170
Поз.НаименованиеАртикулКол-во в сборке
0Валик 51-09-132СП1
0Валик 51-09-226СП1
0Валик51-66-106СП1
0Заклепка5Х40.001
0Кронштейн51-09-227СП1
1Валик 51-09-1051
2Шпонка700-34-20401
3Шестерня 51-09-531
4Штифт700-32-21851
5Валик 51-66-221
6Гайка700-30-23391
7Кольцо51-66-301
8Кронштейн51-09-2021
9Штифт700-32-21982
10Шпонка700-34-20511
11Заклепка 5х40.001
12Шестерня51-66-231
13Втулка 51-66-192
14Штифт700-32-21861
Валики привода масляного насоса