Запасные части ЧТЗ Запасные части ЧТЗ
Алчевск
Например:
Актобе
Алдан
или
Выбрать автоматически
Актобе
Алдан
Алматы
Алчевск
Архангельск
Астана
Астрахань
Атырау
Баку
Балашиха
Барнаул
Белгород
Бердянск
Бишкек
Владивосток
Владикавказ
Воркута
Воронеж
Горловка
Грозный
Донецк
Екатеринбург
Иваново
Ижевск
Иркутск
Казань
Калининград
Каменск-Уральский
Караганда
Каховка
Кемерово
Киров
Комсомольск-на-Амуре
Костанай
Краснодар
Красноярск
Красный луч
Ленск
Луганск
Магадан
Магнитогорск
Макеевка
Махачкала
Мелитополь
Минск
Мирный (Якутия)
Москва
Мурманск
Нерюнгри
Нижневартовск
Нижний Новгород
Нижний Тагил
Новая каховка
Новокузнецк
Новосибирск
Новый Уренгой
Норильск
Ноябрьск
Нур-Султан
Омск
Оренбург
Ош
Павлодар
Пермь
Петрозаводск
Петропавловск
Петропавловск-Камчатский
Псков
Ростов-на-Дону
Салехард
Самара
Санкт-Петербург
Саратов
Севастополь
Семей
Симферополь
Сочи
Ставрополь
Сургут
Сыктывкар
Тараз
Ташкент
Токмак
Томск
Тында
Тюмень
Ульяновск
Усинск
Усть-Каменогорск
Уфа
Хабаровск
Ханты-Мансийск
Херсон
Челябинск
Чита
Шымкент
Экибастуз
Энергодар
Южно-Сахалинск
Якутск
Ваш город
Алчевск
Войти
Запасные части к тракторам на одном сайте
Отправить заявку


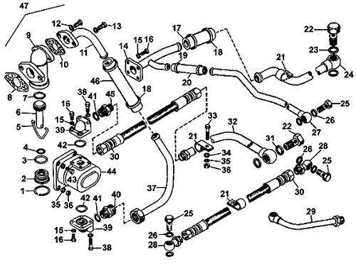
Гидравлическая система управления подетально на Т-170


/
с НДС 20%
Описание
Гидравлическая система управления подетально
Поз.Номер по каталогуНаименование детали
018-26-290СПКран
1700-58-2504Кольцо
218-26-397Втулка
3 042-050-46-2-2Кольцо
4032-028-36-2-2Кольцо
4Кольцо 035-043-46-2-2
518-26-616Фиксатор
618-26-396Поршень
7042-050-46-2-2Кольцо
8700-40-7325Прокладка
918-26-426-1Корпус
10700-40-7341Прокладка
1150-56-121СПТруба
1212 ОТ 65Г 09Шайба
13М12х35.58.019Болт
1418-56-129СПТруба
158Т 65Г 09Шайба
16М8х25.88.019Болт
17700-40-5967Рукав
17700-46-2157Рукав
18700-41-2224СПХомут
19700-41-2228СПХомут
20700-46-2122Рукав
21261115Хомут
22700-41-2575Штуцер
23261164Кольцо
2450-56-125СПТруба
25700-41-3306Болт полый
2640910Кольцо
2750-56-107СПТруба
2850-56-109СПУгольник
2948-56-110СПТруба
30Н.036.85.770Рукав высокого давления II-16, армированный
31261164Кольцо
3250-56-128СПТруба
33700-28-2381Болт
343197Шайба
3510 ОТ 65Г 09Шайба
36М10-6.019Гайка
3718-56-113СПТруба
38700-28-2176Болт
3921-56-44Муфта угловая
40700-41-2488Штуцер
41700-40-2135Кольцо
42700-40-7415Кольцо
43М10х45.58.019Болт
44НШ32У-2-ЛНасос
45700-41-3413Штуцер
46700-46-2142Рукав
4748-56-2СПГидравлическая система управления тракторами болотоходных моделей
4750-56-16-01СПГидравлическая система управления тракторами болотоходных моделей
4750-56-16СПГидравлическая система управления трактором
4750-56-16-02СПГидравлическая система управления трактором погрузчиком
4718-56-6СПГидравлическая система управления трактором Т-170.01
Гидравлическая система управления подетально